Если у вас возникли вопросы по данному оборудованию, напишите нам и наш менеджер с радостью вам ответит!
Крематор для уничтожения биологических отходов
Целевое предназначение крематора
Основная задача данного оборудования заключается в термическом уничтожении (обезвреживании) разного рода биологических отходов, включая падеж птиц и животных, лабораторные материалы, а также боенские отходы и прочие. Крематор применяется в условиях коммунальных и сельскохозяйственных объектов, промышленных и ветеринарных учреждений, а также многих других организаций, деятельность которых включает уничтожение органических отходов. Кроме того, оборудование способно к работе с горелочным устройством на жидком или газообразном топливе.
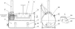
Конструкционные особенности крематора
Данное оборудование включает следующие конструкционные элементы:
- камера сжигания;
- шкаф автоматики управления, оснащенный пиролитическим датчиком;
- загрузочный люк;
- люк для чистки устройства и дымовой трубы.
Когда выполняется запуск горелки, внутри камерная температура соответственно доводится до рабочего значения, а последующая ее поддержка обеспечивается автоматически. Для осуществления контроля над температурой внутри камеры предусмотрен датчик. Охлаждается оборудование естественным образом.
Все крематоры являются герметичными и жаропрочными. Материал, из которого производится оборудование – жаропрочная сталь. Внутри каждый крематор обложен огнеупорным, удерживающим температуру материалом, который позволяет поддерживать определенную температуру непосредственно в камере, а также устраняет риск излишнего нагрева наружной поверхности самой камеры сжигания. Готовые крематоры также покрываются кремнийорганической термостойкой антикоррозийной эмалью.

- — обечайка;
- — патрубок дымохода;
- — дымоход;
- — крышка люка;
- — усилитель;
- — проушина транспортировочная;
- — опора боковая;
- — фланец горелки;
- — опора продольная;
- — стенка торцевая;
- — зажим;
- — дверка;
- — опора поперечная;
- — штуцер термопары;
- — плита торцевая.
При помощи шкафа управления крематором:
- разжигается горелка и обеспечивается последующий контроль над работой горелки по уровню температуры (для экономичного расхода топлива, горелка отключается при достижении заданной температуры);
- функционирует вентилятор горелки по уровню температуры (с целью исключения риска повреждения горелки из-за высокой температуры, поддержания горения при паузе, исключения вероятности наработки).
Наличие выходных релейных сигналов:
- возможность управления розжигом горелки по уровню температуры;
- возможность управления работой вентилятора горелки по уровню температуры;
- наличие аварийной сигнализации.
Параметры, поддающиеся контролю:
- уровень температуры в камере сжигания;
- работа горелки по уровню температуры;
- возможность блокировки горелки;
- работа вентилятора горелки по уровню температуры;
- возможность аварийного отключения автоматов защиты самой горелки и ее вентилятора, а также шкафа управления крематором;
- длительность работы крематора.
Напряжение питания 220В +10/-15%, 50гц
Условия эксплуатации
- рабочая температура -200С…+500С
- относительная влажность 30…80 %
Степень защиты не менее IP43
Контролируемые параметры:
- температура в камере сжигания
- работа горелки по температуре;
- блокировка горелки;
- работа вентилятора горелки по температуре;
- аварийное отключение автоматов защиты горелки, вентилятора горелки и шкафа управления крематором;
- время работы крематора.
Выходные релейные сигналы:
- управление розжигом горелки по температуре;
- управление работой вентилятора горелки по температуре;
- аварийная сигнализация.
Наша компания готова изготовить оборудование в соответствии с индивидуальными потребностями покупателя (согласно конкретному объему загрузки, скорости сжигания, типу топлива).
Крематоры
| Модель | КР-50 | КР-100 | КР-200 | КР-300 | КР-500 | КР-1000 | |
| Максимальная загрузка, кг | 50 | 100 | 200 | 300 | 500 | 1000 | |
| Вес установки, кг, не более | 400 | 900 | 1200 | 1500 | 2500 | 3500 | |
| Габаритные размеры, мм, не более:- ширина- длина — высота до верхней точки дымовой трубы | 900*2000*1900 | 1000*2250*2000 | 1100*2250*2100 | 1200*2500*2100 | 1300*2750*2200 | 1400*3300*2300 | |
| Размеры загрузочного люка, мм | — | 700х390 | 800х492 | 930х492 | 1400х650 | 1858х930 | |
| Внутренний диаметр дымовой трубы, мм, не менее | 100 | 125 | 150 | 200 | |||
| Вес зольного остатка, кг, не более | 5 | 8 | 10 | 15 | 25 | 50 | |
| Наличие огнеупорной прокладки | нет | да | да | да | да | да | |
| Температурн.свойства прокладки, ºС | нет | 1650 | 1650 | 1650 | 1650 | 1650 | |
| Горелка Lamborghini дизель л/ч ( max горения) | 5-7 | 5-7 | 5-7 | 7-9 | 8-10 | 12-14 | |
| Тепловая мощность горелки, кВт | — | 36-101 | 36-101 | 36-101 | 59,3-124,5 | 83-176 | |
| Мощность сжигания, кг/ч | 20-25 | 25-40 | 30-45 | 30-50 | 35-55 | 40-70 | |
| Сжиженный газ, л/ч | — | 7-8 | 8-9 | 8-9 | 13-14 | 13-14 | |
| Натуральный газ, м3/ч | — | 5-6 | 6-7 | 6-7 | 8-9 | 8-9 | |
| Средний расход дизеля, л/ч (опытный) | 3,5-5 | 3,5-5 | 4-7 | 4-7 | 7-10 | 7-10 | |
| Время сжигания при полной загрузке, час | 2-3 | 2-3 | 4-6 | 5-7 | 12-16 | 14-20 | |
| Электропитание | Сеть переменного тока 220В / 50Гц / 20А | ||||||
| Средняя температура в камере сгорания, °С | 760-870 | ||||||
| Гарантия | 1 год | ||||||
- сертификат соответствия ГОСТ на крематор
- экологический сертификат соответствия на крематор
- сертификат соответствия ГОСТ на горелку
- паспорт на крематор
- паспорт на горелку
- монтажная схема
- крематор
- горелка Lamborghini
- шкаф управления автоматикой
- термопара ТХА
- дымовая труба
- бак топливный с топливопроводом (поставляется с дизельной горелкой)
- пакет документов
Кроме того, при желании клиента, крематор может быть оснащен горелкой, работающей на отработанном масле.
При 100% оплате существует гибкая система скидок!
* – в стоимость не входит доставка, монтаж и пуско-наладочные работы.
Крематоры в ассортименте каталог 06.2023 —
Посмотреть каталог








